ANTHROPOGENIC FACTORS AFFECTING THE AIR POLLUTION OF TASHKENT CITY
This article examines the impact of the industry of Tashkent city and its composition and the production of industrial products on atmospheric air pollution, in which the data of the Agency of Hydrometeorological Service on the release of pollutants into the air and the statistics committee of...

Actual problems of Natural Sciences / 2025 / January

Ismatova Nilufar Ravshan Kizi

Volume 9 | Issue 1

3 January 2025, 21:50

NATURAL GEOGRAPHICAL DESCRIPTION OF THE AREA WHERE ALMALIK MINE METALLURGY COMBINATION IS LOCATED
This article is dedicated to the natural geographical description of the area where the Almalik mining and metallurgical combine is located, and it contains information about the natural geographical location, geological structure, relief and climate of the area where the combine’s branches are...

Actual problems of Natural Sciences / 2025 / January

Okhunjonova Dildora Komiljon Kizi, Pozilov Otabek Payzivoy Ugli

Volume 9 | Issue 1

DETERMINATION OF PARAMETERS OF THE TECHNICAL CONDITION OF THE SPINDLE ASSEMBLY OF METAL-CUTTING MACHINES BASED ON MATHEMATICAL MODELING
The article discusses vibration diagnostics methods for assessing the technical condition of the spindle assembly of metal-cutting machines and determining its dynamic characteristics. The technical condition of the spindle assembly is important in determining defects that have arisen in its...

Actual problems in modern technical sciences / 2025 / January

Yakhshiev Sherali Namozovich, Tangatarova Laylo Alijon Kizi, Mansurov Dilshod Ravilovich, Namozova Zuxra Sherali Kizi, Namozova Fotima Sherali Kizi

Volume 9 | Issue 1

INVESTIGATION OF THE RESISTANCE OF THE CUTTING TEETH OF A RUNNING-IN TOOL WHEN PROCESSING CYLINDRICAL GEARS
The article examines the issues of studying the state of manufacturing cylindrical gear wheels. Research has shown that there is a problem of ensuring the accuracy of tooth processing in finishing operations. The accuracy problem concerns not only finished structures, but also machine parts, among...

Actual problems in modern technical sciences / 2025 / January

Mardonov Bakhtiyor Teshayevich, Shakulov Begmamat Kurbanovich, Fayziyev Oybek Sidikovich, Irdonov Furqat Nematovich, Tangatarova Laylo Alijon Kizi

Volume 9 | Issue 1

3 January 2025, 21:50

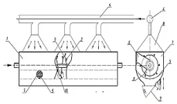
INFLUENCE ON CLEANING EFFICIENCY OF RECONSTRUCTED GRATE
The article presents the results of experimental tests on improving the grate used in the process of cleaning large trash, as well as the results of experimental tests under production conditions. With a grate diameter of 15 mm, a distance between them of 40 mm, and a distance between the serrated...

Actual problems in modern technical sciences / 2025 / January

Saparov Maxmud Qadamovich, Muxamedjanova Sarvara Fatxitdinovna, Ro‘zmetov Raxmatjon Ibodullayevich, Tuychiev Timur Ortikovich

Volume 9 | Issue 1

CONCEPT OF DEVELOPMENT OF PASSENGER TECHNICAL STATIONS IN MODERN CONDITIONS
This paper is dedicated to the analysis of the current state of passenger technical stations in Uzbekistan and the development of a concept for their future improvement. The study examines key aspects of station operations, including infrastructure, technical equipment, passenger service...

Actual problems in modern technical sciences / 2025 / January

Ibragimova Gulshan Ruslanovna, Eshmetova Dilbar Alisherovna

Volume 9 | Issue 1

QUANTITATIVE INDICATORS OF CONTAMINANTS IN COTTON SEED AND SEARCH FOR WAYS FOR THEIR SEPARATION FROM THE FRAGMENTS
This study investigates the removal of impurities from cotton raw materials, focusing on small impurities deeply embedded in cotton slivers. Traditional cleaning methods, such as the 6A-12M screw cleaner, face challenges like fiber tangling and low efficiency in separating fine impurities,...

Actual problems in modern technical sciences / 2025 / January

Rakhmonov Khayriddin Kadirovich, Matyaqubova Jumagul Bakhtiyarovna

Volume 9 | Issue 1

3 January 2025, 21:50

EXPLORING LINGUISTIC LACUNAE: A COMPARATIVE ANALYSIS OF ENGLISH AND UZBEK PROVERBS
This article explores the concept of lexical lacunae through a comparative analysis of proverbs in English and Uzbek. By examining the cultural and historical nuances embedded in language, we identify instances where specific words or phrases lack direct equivalents in another language. This...

Modern problems of Philology and Linguistics / 2025 / January

Qurbonbayeva Sojidabonu Muxtar Kizi

Volume 9 | Issue 1

ANTHROPOCENTRIC ASPECT OF QUANTITY EXPRESSIONS IN UZBEK AND ENGLISH LANGUAGES
The article discusses issue of the anthropocentric aspect of quantity expression in Uzbek and English languages, how linguistic units related to the expression of quantitative characteristics reflect human perception of the world, culture, customs and worldview in these two languages. In this...

Modern problems of Philology and Linguistics / 2025 / January

Rakhimova Shoira Atabekovna

Volume 9 | Issue 1

BENEFITS OF FLIPPED CLASSROOM MODEL TO ADDRESS FOSSILIZATION AND OVERGENERALIZATION IN SPEAKING ENGLISH
This study explores the benefits of implementing Flipped classroom model as a tool for overcoming two major language problems in developing oral skills in English- fossilization and overgeneralization. Fossilization refers to the stabilization of errors in second language learners’ speech, while...

Modern problems of Philology and Linguistics / 2025 / January

Jalilova Guzal G‘ulomovna

Volume 9 | Issue 1