SELECTION OF DIGITAL ELEVATION MODEL FOR DETERMINING THE HEIGHT AND DEPTH OF LAKES AND PONDS OF THE KHOREZM REGION
The scale of adverse events related to climate change has increased in the Khorezm region recent years. Water scarcity has expanded, and drought problems have worsened. As a result, the water of lakes and ponds used in aquaculture has drying up and the area has shrinking. In order to mitigate the...

Actual problems of Natural Sciences / 2021 / March

Matchanov Otabek Jumanazarovich, Bekmetova Shoira Hamid qizi

Volume 5 | Issue 5

SOME OPINIONS ABOUT HISTORY OF MNEMONICS
This article presents the views on the use of mnemonics in the teaching of German and the analysis of its effectiveness. The history and development of mnemonics are analyzed. The main literature on the subject is studied. The effect of memory techniques on learning efficiency is described....

Actual problems of history, philosophy and sociology / 2021 / March

Xasanova Ozodaxon Qurvonali qizi

Volume 5 | Issue 5

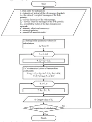
DEVELOPMENT OF IMPROVED CONSTRUCTION OF SCREW CONVEYOR COMPONENTS AND CALCULATION OF PARAMETERS
The screw conveyor performs a rotational movement when transporting the product along the screw conveyor, its improved design is being developed, and according to the results of scientific research, it is recommended as an important innovation in production. The essence of the work is that on screw...

Actual problems in modern technical sciences / 2021 / March

Juraev Nodirbek Normuradovich, Juraev Anvar Djuraevich, Parmonov Sarvar Toshpulatovich

Volume 5 | Issue 5

ANALYSIS OF QUALITATIVE INDICATORS OF MACHINE COTTON HARVESTING IN TECHNOLOGICAL PROCESSES OF PRIMARY COTTON PROCESSING
This article provides information on the analysis of the quality indicators of the fiber obtained from the primary processing of cotton and cotton fabric by machine. In terms of the quality of the fibers obtained from the primary processing of cotton and cotton harvested by machines, presents the...

Actual problems in modern technical sciences / 2021 / March

Jumaniyazov Kadam Jumaniyazovich, Egamberdiev Fazliddin Otakulovich, Abbazov Ilhom Zapirovich, Umarov Sadriddin Nasriddinovich

Volume 5 | Issue 5

PRESERVATION OF HEAVY MIXTURES IN THEIR NEW CONSTRUCTIONS AND THEIR REMOVAL.
This article examines the process of spontaneous removal of heavy impurities from the working chamber of stone-cutting equipment used in the process of cleaning cotton wool. The constructions of devices that emit heavy impurities are studied and their disadvantages are shown. In the future, the...

Actual problems in modern technical sciences / 2021 / March

Gadoev Nuriddin Erdashevich, Murodov Rustam Murodovich, Egamberdiev Fazliddin Otakulovich

Volume 5 | Issue 5

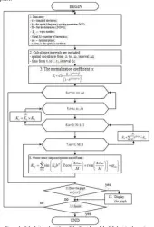
JUSTIFICATION OF THE PARAMETERS OF NEW CONSTRUCTION OF THE SCREW CONVEYOR FOR THE TRANSPORT OF LOOSE MATERIALS
The two-beam screw conveyor with a waveform surface is considered a shnek, the mechanism that carries out the rotational motion in the transportation of the product, the design work of its improved construction is carried out and, according to the results of scientific research work, is recommended...

Actual problems in modern technical sciences / 2021 / March

Juraev Anvar Djuraevich, Juraev Nodirbek Normuradovich, Parmonov Sarvar Toshpulatovich

Volume 5 | Issue 5

ANALYSIS OF QUALITY INDICATORS OF YARN FROM COTTON YARN OF MANUAL AND MACHINE DIALED
This article presents an analysis of card yarn with a linear density of 19.6 tex (Ne=30) made of cotton fiber of manual and machine dialed, as well as their quality indicators. The quality indicators of raw products and yarn at the foreign joint venture “Jizzakh textile " LLC in the Jizzakh...

Actual problems in modern technical sciences / 2021 / March

Egamberdiev Fazliddin Otakulovich, Abbazov Ilkhom Zapirovich, Salomov Abubakir Akhmadkulovich, Khodjaev Kudrat Sherzadovich

Volume 5 | Issue 5

ROLE AND PLACE OF RISK MANAGEMENT IN SMALL BUSINESS FINANCE MANAGEMENT
A new risk-oriented approach to internal financial planning, based on integration of risk management elements into the process of planned activity of small business entities, New principles have been explored that take into account a risk-oriented approach to financial planning in an enterprise,...

Actual problems in modern tourizm and economics / 2021 / March

Djamalov Khasan Numanjanovich

Volume 5 | Issue 5

INFLATION TARGETING MONETARY POLICY OF CENTRAL BANK: THE CASE OF UZBEKISTAN
An important aspect in the sustainable development of the economy is to find out the leveling point between the tighten inflation targeting monetary policy and lowering of unemployment in a country. In this article on the basis of new methodology and developing countries’ experience a robust...

Actual problems in modern tourizm and economics / 2021 / March

Kadyrov Farkhod

Volume 5 | Issue 5

TEACHING RUSSIAN IN MULTINATIONAL CLASSROOMS
In recent years, the matter of learning Russian language in a polycultural environment has become a main focus of many researchers. The article deals with the issue of multilateral approaches to the instruction of Russian language....

Actual problems in modern pedogogy and pshychology / 2021 / March

Mardonova Feruza

Volume 5 | Issue 5